電子吊秤由于現場條件吊車的結構和使用情況以及要求粉度不同,因此,傳感器的數量和安地形式也不相同。為了設計方便起見,下面介紹幾種電子吊秤的結構形式。
(一)單吊式電子吊砰
單吊式電子吊秤的結構見圖4-39所示。圖中,單吊式電子吊秤采用丁一組拉式傳感器作為一次承重元件的。傳感器的頂端吊環(huán)2直接與吊車的吊鉤所連接,傳感器底端的小吊鉤3吊掛載,傳感器的輸出線接至顯爾儀表4的信號輸入端。
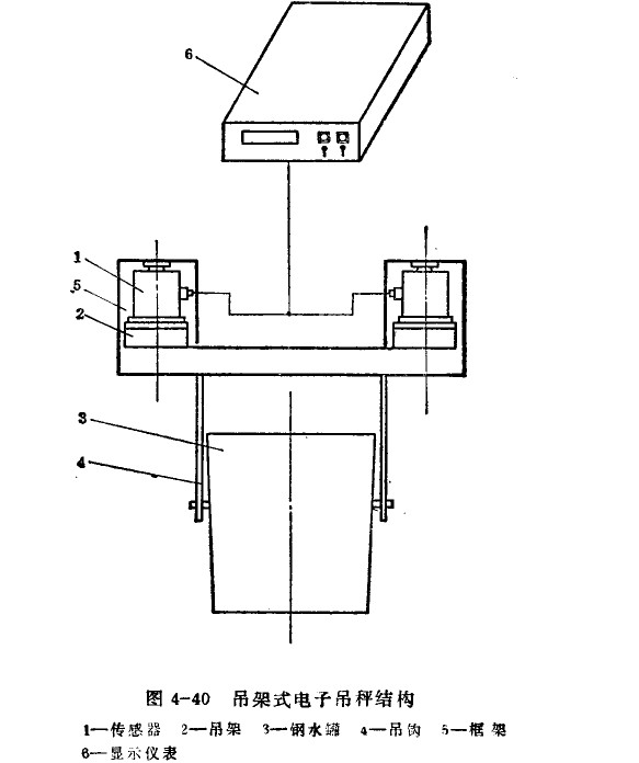
(二)吊架式電子吊秤
吊架式電于觸秤的結構見圖4-41所款。從圖中不難看出被秤量物是煉鋼廠的鋼水濺里盛著的鋼水。兩組傳感根1安裝在場架2上.鋼水罐水吊裝在兩織吊鉤4上,吊鉤安裝在框架5上.重力可通過吊鉤、框架加在傳感器上,兩組傳感甜輸出信號是串聯的 傳感器的輸出線接至二次顯示儀表6的信號輸入端。

(三)連桿式電子吊秤
這桿傳力式電子吊秤的結構見圖4-41所示,從圖中不難看出,傳感器兩租安裝在連桿2的前端,文承軸3將動滑輪4連接在一起,安裝在連桿上, 連桿的支點利用銷助鉸接在支架5上,支架利網螺栓固定在可移動式小車認底座6號,重量通過吊鉤、動滑輪 鋼絲繩、連桿加任承重傳感器上。傳感器的信號輸出線接至二次顯示儀表7的信號輸入端.
上一篇:定量包裝秤調試方法
下一篇:電子吊秤在煤礦中的應用